目前,全國多地發生新型冠狀病毒感染的肺炎疫情,黨中央、國務院高度重視,習近平總書記作出重要指示。
河南東森有限公司以保障人民用藥安全為己任,針對新型冠狀病毒感染病情高度重視,積極應對疫情及防控工作,堅決履行社會責任。
不誤傳、
不造謠、
不信謠、
不跟風、
不過度恐慌、
不杜撰改編、
對未經核實的信息不隨意轉發。
但是一定要做好預防措施。
在此我們向正在奮戰一線,迎難而上的醫護人員致以最高的敬意!
平安中國,需要你我共同努力!
面對新型冠狀病毒
患者主要臨床表現為發熱、乏力,呼吸道癥狀以干咳為主,并逐漸出現呼吸困難,嚴重者表現為急性呼吸窘迫綜合征、膿毒癥休克、難以糾正的代謝性酸中毒和出凝血功能障礙。部分患者起病癥狀輕微,可無發熱。
如出現發熱、乏力、干咳表現,并不意味著已經被感染了。
但如果出現發熱(腋下體溫≥37.3℃)、咳嗽、氣促等急性呼吸道感染癥狀,且有武漢旅行或居住史,或發病前14天內曾接觸過來自武漢的發熱伴呼吸道癥狀的患者,或出現小范圍聚集性發病,應到當地指定醫療機構進行排查、診治。
去醫院就醫需要注意什么?
就醫時,應如實詳細講述患病情況和就醫過程,尤其是應告知醫生近期的武漢旅行和居住史、肺炎患者或疑似患者的接觸史、動物接觸史等。特別應注意的是,診療過程中應全程佩戴外科口罩,以保護自己和他人。
什么是密切接觸者?
與發病病例(疑似和確診病例)有如下接觸情形之一者屬于密切接觸者:(1)與病例共同居住、學習、工作或其他有密切接觸的人員;(2)診療、護理、探視病例時未采取有效防護措施的醫護人員、家屬或其他與病例有類似近距離接觸的人員;(3)病例同病室的其他患者及其陪護人員;(4)與病例乘坐同一交通工具并有近距離接觸人員;(5)現場調查人員調查經評估認為符合條件的人員。
為什么密切接觸者要醫學觀察14天?
目前對密切接觸者采取較為嚴格的醫學觀察等預防性公共衛生措施十分必要,這是一種對公眾健康安全負責任的態度,也是國際社會通行的做法。參考其他冠狀病毒所致疾病潛伏期、此次新型冠狀病毒病例相關信息和當前防控實際,將密切接觸者醫學觀察期定為14天,并對密切接觸者進行居家醫學觀察。
公眾如何預防新型冠狀病毒感染的肺炎?
(1)保持手衛生。咳嗽、飯前便后、接觸或處理動物排泄物后,要用流水洗手,或者使用含酒精成分的免洗洗手液。
(2)保持室內空氣的流通。避免到封閉、空氣不流通的公眾場所和人多集中地方,必要時請佩戴口罩??人院痛驀娞鐣r使用紙巾或屈肘遮掩口鼻,防止飛沫傳播。
(3)醫院就診或陪護就醫時,一定要佩戴好合適的口罩。
(4)養成良好的安全飲食習慣。處理生食和熟食的切菜板及刀具要分開,做飯時徹底煮熟肉類和蛋類。
(5)盡量避免在未加防護的情況下接觸野生或養殖動物。
近期去過武漢,回到居住地后要注意什么?如出現臨床癥狀,是否要做新型冠狀病毒感染的肺炎相關檢查?
回到居住地之后,可在2周內注意加強身體防護,關注自身身體狀態。如果接到疾控部門通知,需要接受居家醫學觀察,不要恐慌,不要上班,不要隨便外出,做好自我身體狀況觀察,定期接受社區醫生的隨訪。如果出現發熱(腋下體溫≥37.3℃)、咳嗽、氣促等急性呼吸道感染早期臨床癥狀,請及時到當地指定醫療機構進行排查、診治。
很多不正確的說法或預防措施開始混淆視聽
在此提醒大家:
河南東森有限公司以保障人民用藥安全為己任,針對新型冠狀病毒感染病情高度重視,積極應對疫情及防控工作,堅決履行社會責任。
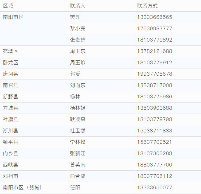
為保證春節期間各醫療機構及廣大人民群眾用藥需求及安全,河南東森醫藥有限公司各地市縣區均安排值班人員,7*24小時全天候等待服務,最大力度滿足春節假期藥品及醫用耗材供應服務,如有需求,可及時致電以下人員聯系:

不誤傳、
不造謠、
不信謠、
不跟風、
不過度恐慌、
不杜撰改編、
對未經核實的信息不隨意轉發。
但是一定要做好預防措施。
在此我們向正在奮戰一線,迎難而上的醫護人員致以最高的敬意!
平安中國,需要你我共同努力!
面對新型冠狀病毒
大眾應如何做好預防呢?
患者主要臨床表現為發熱、乏力,呼吸道癥狀以干咳為主,并逐漸出現呼吸困難,嚴重者表現為急性呼吸窘迫綜合征、膿毒癥休克、難以糾正的代謝性酸中毒和出凝血功能障礙。部分患者起病癥狀輕微,可無發熱。
多數患者為中輕癥,預后良好,少數患者病情危重,甚至死亡。
如果出現早期臨床表現,是否意味著自己被感染了?什么情況下需要就醫?如出現發熱、乏力、干咳表現,并不意味著已經被感染了。
但如果出現發熱(腋下體溫≥37.3℃)、咳嗽、氣促等急性呼吸道感染癥狀,且有武漢旅行或居住史,或發病前14天內曾接觸過來自武漢的發熱伴呼吸道癥狀的患者,或出現小范圍聚集性發病,應到當地指定醫療機構進行排查、診治。
去醫院就醫需要注意什么?
就醫時,應如實詳細講述患病情況和就醫過程,尤其是應告知醫生近期的武漢旅行和居住史、肺炎患者或疑似患者的接觸史、動物接觸史等。特別應注意的是,診療過程中應全程佩戴外科口罩,以保護自己和他人。
什么是密切接觸者?
與發病病例(疑似和確診病例)有如下接觸情形之一者屬于密切接觸者:(1)與病例共同居住、學習、工作或其他有密切接觸的人員;(2)診療、護理、探視病例時未采取有效防護措施的醫護人員、家屬或其他與病例有類似近距離接觸的人員;(3)病例同病室的其他患者及其陪護人員;(4)與病例乘坐同一交通工具并有近距離接觸人員;(5)現場調查人員調查經評估認為符合條件的人員。
為什么密切接觸者要醫學觀察14天?
目前對密切接觸者采取較為嚴格的醫學觀察等預防性公共衛生措施十分必要,這是一種對公眾健康安全負責任的態度,也是國際社會通行的做法。參考其他冠狀病毒所致疾病潛伏期、此次新型冠狀病毒病例相關信息和當前防控實際,將密切接觸者醫學觀察期定為14天,并對密切接觸者進行居家醫學觀察。
公眾如何預防新型冠狀病毒感染的肺炎?
(1)保持手衛生。咳嗽、飯前便后、接觸或處理動物排泄物后,要用流水洗手,或者使用含酒精成分的免洗洗手液。
(2)保持室內空氣的流通。避免到封閉、空氣不流通的公眾場所和人多集中地方,必要時請佩戴口罩??人院痛驀娞鐣r使用紙巾或屈肘遮掩口鼻,防止飛沫傳播。
(3)醫院就診或陪護就醫時,一定要佩戴好合適的口罩。
(4)養成良好的安全飲食習慣。處理生食和熟食的切菜板及刀具要分開,做飯時徹底煮熟肉類和蛋類。
(5)盡量避免在未加防護的情況下接觸野生或養殖動物。
近期去過武漢,回到居住地后要注意什么?如出現臨床癥狀,是否要做新型冠狀病毒感染的肺炎相關檢查?
回到居住地之后,可在2周內注意加強身體防護,關注自身身體狀態。如果接到疾控部門通知,需要接受居家醫學觀察,不要恐慌,不要上班,不要隨便外出,做好自我身體狀況觀察,定期接受社區醫生的隨訪。如果出現發熱(腋下體溫≥37.3℃)、咳嗽、氣促等急性呼吸道感染早期臨床癥狀,請及時到當地指定醫療機構進行排查、診治。
預防新型冠狀病毒,如何保護自己和他人?









很多不正確的說法或預防措施開始混淆視聽
在此提醒大家:
以下都是謠言!千萬別信








